Если потолок натяжной или подвесной: что делать?
В последнее время в жилище человека начали «появляться» подвесные и натяжные потолки, которые не предназначаются для дополнительных нагрузок. В таком случае можно воспользоваться двумя вариантами, такими как:
- В процессе монтажа таких потолков необходимо позаботиться об установке закладных, к которым, в последствии, будут крепиться либо кронштейны, либо потолочные карнизы.
- В процессе монтажа подобных потолков необходимо предусмотреть специальные ниши, чтобы была возможность крепить изделия непосредственно к потолку первичному.
Оба варианта часто используются, поскольку они реально решают проблему. Во втором случае получается скрытый карниз, что зачастую смотрится более, современно и загадочно.
Устанавливая закладные, возможны 2 варианта: установка цельного бруска из дерева или установка небольших отрезков. Естественно, что установка цельного бруска поможет сэкономить некоторое время на крепление, а также делает крепление более надежным, в отличие от отдельных брусков. Устанавливая отдельные бруски, необходимо запоминать расстояние между ними, заранее зная, какой именно карниз будет установлен.
Из-за кривизны потолков, монтируя подвесные или натяжные потолки, их приходится опускать больше, чем на 5 сантиметров, поэтому установка закладных усложняется. В таком случае закладные придется крепить к металлическим уголкам. Следует рассчитать так, чтобы нижняя поверхность закладной находилась на уровне каркаса потолка.
Если надо опустить пониже
Если потолок монтируется из гипсокартона, то в качестве закладной можно использовать профиль, надежно закрепив его к потолку. Чтобы закрепить карниз, придется воспользоваться саморезами по металлу. Такого крепления вполне достаточно для надежности крепления карниза.
Скрытая ниша под карниз на натяжном потолке. Установка ниши под карниз от Аста М
Watch this video on YouTube
Как крепить потолочный карниз к натяжному потолку
Карниз для натяжных потолков в установке более трудоемок, в отличие от крепления к бетонному потолку и требует установки деревянного бруса до натяжения потолка.
Брус перед использованием зашлифовывают и пропитывают противогрибковыми растворами. На стене или потолке отмечают место установки бруса, крепят его с помощью монтажных перфорированных лент.
Поверх натягивается потолок и к предполагаемому месту бруса крепится карниз. Если потолок уже натянут, то к перекладине с помощью потайных винтов прикручиваются кронштейны, к которым в дальнейшем крепится карниз.
Легкие и средние ткани придают интерьеру невесомость, пропускают большую часть света. Плотные ткани пропускают меньше солнечных лучей, что можно компенсировать выбором светлой ткани.
Подбор карниза завершит композицию. Так же при подборе потолочного карниза необходимо помнить о правилах выбора и монтажа конструкции. Трудоемкость и сложность крепления говорит о том, что лучше обратиться за помощью к профессионалам. И тогда лаконичность и красота будут радовать хозяина квартиры!
Монтаж карниза на стену
Сегодня существует множество разновидностей карнизов для крепления штор. Есть варианты для монтажа на стену, потолок, подвесные модели. В каждом случае выбор конкретной модели делается, исходя из эстетических предпочтений, особенностей дизайна интерьера и устройства оконного проема. Один из наиболее популярных вариантов – крепление карниза на стену.
К стене могут крепиться несколько видов кронштейнов:

- Металлические конструкции с креплениями Г-образной формы. Установить такую конструкцию довольно просто. Такой подвес для штор весьма надежен, но внешний вид этих моделей нравится не всем.
- Легкие пластиковые конструкции круглой формы с разборными держателями. Их выбирают за эстетичный внешний вид. Но если планируется вешать тяжелые плотные шторы, прочности пластика может оказаться недостаточно.
- Цельные держатели со сквозными отверстиями для крепежа. Обычно они выполняются из дерева и предназначены для деревянных конструкций.
Какой бы тип кронштейнов вы не выбрал, нужно прежде всего определиться, где будет находиться карниз после монтажа. Чтобы это сделать, требуется определить расстояние от потолка и от краев оконного проема.

Для определения того, насколько опускать карниз от потолка, расстояние от него до верхнего края оконного проема делят на 3 части. От карниза до потолка должна быть 1 часть расстояния, а от верхнего края окна до карниза – 2 части. Так, если от края проема до потолка 18 см, то стоит брать от потолка 6 см, а от края проема окна – 12 см.
Для того чтобы узнать как повесить жалюзи на пластиковые окна читайте в этой статье.
Изготовление потолочного варианта
Чтобы собрать потолочный карниз для штор своими руками, потребуется следующий набор:
- прямоугольный деревянный брус прямоугольного типа;
- мебельные уголки;
- саморезы и лак;
- электрическая дрель;
- ножовка и приспособления для нанесения разметки;
- направляющие металлического типа (лучше всего их купить).
Работы начинаются с обработки древесины. Что касается размеров этого элемента, то лучше всего использовать с сечением 100х10 или же 100х20 мм. Длина его также должна превышать длину оконного проема, но уже на 20-25 см с каждой стороны. Брусья соединяются таким образом, чтобы в сечении они образовали букву «Г». Для сборки используются саморезы, которые вкручиваются по всей длине стыка изделий, а также здесь стоит применить мебельные уголки, так как они повысят прочность. Готовая конструкция покрывается лаком или же красится. Можно делать и то, и другое. После этого с внутренней стороны при помощи саморезов необходимо прикрутить направляющие из металла.
Как видно, сборка и крепление потолочного карниза гораздо проще, чем настенного, хотя он и имеет лучший дизайн.
Расчет – дело тонкое
Перед тем как повесить карниз на стену и браться за дрель, необходимо провести правильный расчет его расположения
Важно не только то, на каком расстоянии от окна вешать карниз, но и правильный выбор длины конструкции
Измерьте общую ширину стены, к полученной цифре прибавьте 40 см, если в комнате рядом располагаются два окна – прибавляйте 20 см.
Перед тем как вешать потолочный карниз, монтаж начинается с измерения ширины окна
- Правило №1. Независимо от того, какая система выбрана (потолочная или настенная) длина карниза должна быть больше оконного проема на 30-50 см.
- Правило №2. Для того чтобы шторы в дальнейшем не мешали открыванию окна, расстояние от гардины до окна должно составлять не менее 5-7 см.
- Правило №3. Чтобы шторы не задевали радиаторы и оконную раму, учитывайте расстояние вхождения от гардины до стены, которое должно быть более 10 см.
- Правило №4. На каком расстоянии от потолка вешать карниз? Расстояние до потолка – вопрос индивидуальный, однако, как показывает практика, чем выше карниз, тем привлекательнее оформление окна, поэтому оставляйте не более 10 см. (См. также статью Оформление потолка: особенности.)
Определяя, на какой высоте вешать карниз для штор, не забывайте, что они призваны выполнять не только декоративную, но и функциональную задачу
Как закрепить карниз для штор на потолке
Вопрос «как правильно вешать карниз в комнату, как он должен быть закреплен на стене и потолке» интересует большинство людей, которые решили самостоятельно поменять интерьер своей квартиры и украсить ее новыми шторами или гардинами.
Для каждого особенного дизайна помещения в строительных магазинах всегда в наличии несколько разных типов карнизов.
Выбрав подходящие к обстановке комнаты занавески и карниз, необходимо разобраться с креплением и понять, какой вариант подходит для каждой отдельной комнаты.
Для качественного карниза лучше выбирать сталь, а не пластик.
Обычно по типу крепления карнизы делятся на две большие группы – потолочные и настенные, которые при монтаже нужно закрепить на потолке или на стене соответственно.
При выборе карниза важно учесть фасон и вес штор, форму окна и стиль оформления комнаты. Но сам выбор карниза и крепления зависит от нескольких немаловажных факторов:
Но сам выбор карниза и крепления зависит от нескольких немаловажных факторов:
- Высоты потолка.
- Ширины окна.
- Расстояние между ярусами карниза – штангами, держащими тюль и сами шторы.
В качестве материала изготовления креплений для оконного текстиля используется дерево, металл и пластик.
Учитывая эти критерии, довольно нетрудно выбрать правильный карниз с подходящим типом крепления для любой комнаты и понять, как правильно вешать гардины.
Как выбрать гардину карниз для натяжного потолка, как прикрепить
Логическим завершением любого капитального ремонта становится выбор и подвешивание подходящей по стилю и расцветки гардины. Отдавая предпочтение стандартному варианту с настенным крепежом карниза, обычно не возникает никаких дополнительных сложностей. Однако профессиональные оформители интерьеров уже достаточно давно вкладывают в слово «гардина» более глубокое значение, наделяя этот предмет интерьера более расширенными функциями. Выбрав такой современный вариант, следует более подробно изучить особенности процесса его установки, а также особенности совмещения с натяжными потолками.
Как правильно подобрать потолочный карниз
Итак, для начала рассмотрим все особенности выбора потолочных карнизов
Для этого понадобиться разобраться какие вообще бывают данные конструкции, а также на какие параметры следует обращать внимание
Классификация карнизов
Начнем, пожалуй, с рассмотрения видов данного типа систем. Классифицируются же они по типу конструкции, а также по материалу изготовления и способу крепления.
Рассматривая конструкции карнизов, можно четко разделить их на:
- Багетные;
- Круглопалочные;
- Профильные;
- Специальные;
- Струнные.
Следующей классификацией становится используемы материал, и в зависимости от него конструкции могут быть:
- Металлическими;
- Пластиковыми;
- Деревянными;
- Или же комбинированными.
Отметим, что выбирать карниз необходимо не только исходя из его внешнего вида, но и рассматривать ряд параметров, таких как вид крепления к примеру. А учитывая то, что обычно само крепление проводится непосредственно к конструктивным элементам, т.е. в стенам, или потолку, в частности непосредственно к плите перекрытия, то выбирать конструкцию необходимо еще до проведения внешней отделки помещения.
Какие параметры необходимо учитывать при выборе
Итак, перед тем как приступить к выбору карниза необходимо ознакомится с некоторыми факторами, которые нужно обязательно учитывать. Изначально следует провести замеры, и определится с видом штор, что уже частично ответит на вопрос как крепить карниз к потолку
Кроме того, для правильности проведения необходимых замеров обратите внимание на следующие факторы:
- При открывании окна карниз не должен препятствовать ем, т.е. должен быть расположен несколько выше проема, оптимальным расстоянием считается пять сантиметров.
- Отступ карниза от стены должен быть таким, чтобы полностью исключалось соприкосновение штор со стенами, подоконником, батареями и непосредственно окном, а также его ручками.
- Длина карниза должна быть несколько больше самого оконного проема, для того, чтобы можно было полностью раздвинуть шторы. В таком случае обычно предусматривается выступ в обе стороны от проема на расстояние 30-40 сантиметров. В зависимости от ширины окна данные показатели могут быть уменьшены или увеличены.
Также, перед непосредственным проведением замеров необходимо выбрать вид штор и их количественный состав. Именно от этих факторов будет зависеть конструкция карниза, а также требования к уровню его прочности.
- В случае эксплуатации плотных штор, которые соответственно обладают не малой массой лучше остановить свой выбор на металлических конструкциях, или же профильных из высокопрочного пластика. Крепление такой системы проводится с использованием монтажных отверстий в шине.
- Также следует учитывать и количество уровней такого заграждения, т.е. количество используемых штор. К примеру, если будет предусматриваться тюль и плотная штора, то, соответственно, необходимо подобрать двухуровневый карниз.
Выбор карниза по способу крепления
Далее рассмотрим различные способы крепления карнизов. Всего их можно отметить три:
- Крепление карниза на кронштейнах;
- С помощью монтажных отверстий;
- А также подвесное крепление.
В любом из случаев обязательным фактором становится обустройство отверстий в несущей конструкции, а различие заключается лишь в количественном составе крепежных элементов, а также месте их расположения.
Дизайн
Перед тем, как установить потолочную гардину, необходимо определиться с ее дизайном. Потолочные гардины не должны быть слишком яркими. По мнению дизайнеров, присутствие более трех цветов делает помещение пестрым и безвкусным. Также следует учитывать, что черный и белый цвет отлично сочетаются с другими цветами. А белый цвет зрительно увеличивает любое помещение.
Выбирая гардины по цвету, в большинстве случае используют следующие варианты:
- Гардины белого или черного цвета.
- Гардины под цвет потолочного пространства.
- В соответствии с цветом стен.
В целом гардины должны соответствовать общему стилю помещения. К примеру, стиль под старину предполагает использование массивной люстры и элементов, имитирующих деревянные балки. Следовательно, выбор следует делать в пользу деревянных гардин темного цвета, а не простых пластиковых конструкций. Аналогичная ситуация возникает в гостиной, оформленной в стиле модерн, где использование резных деревянных гардин будет неуместным.
Крепления для штор
Есть много разнообразных креплений, с помощью которых можно повесить шторы.
Кольца с крючками
Чаще всего они продаются вместе с карнизом, они наиболее популярны. Кольца можно и не использовать, просто нашить на занавески петли.
Кулиса
Расположенная в основании занавески кулиса или узкая полоска ткани, подшитая на основной материал и служащая для протягивания шнура.
Люверсы
Металлические заклепки с отверстием, которые вставляются в ткань с помощью специального пресса. Для этого в ткани приходится делать отверстия и подшивать их.

“Крокодилы”
Крепление похожее на маленькую прищепку с зубами. Подходят для легких тканей, так как острые зубы могут прорвать тяжелые ткани и повредить занавески.
Клипсы
Похожи на “крокодилы”, только без зубов, подходят для тюлевых занавесок. В настоящее время выпускается много разных видов с оригинальной отделкой, даже с магнитными защелками.
Тесьма
К занавескам пришивается тесьма с вшитыми шнурками, с помощью которых полотно стягивается и формируется в складки.
Разобравшись с тем, какие есть шторы, крепления к ним и карнизы, можно приступать непосредственно к комбинированию системы и ее монтажу. Итак, как повесить потолочный карниз для штор.
Основные характеристики профильного карниза
Как уже было отмечено выше, для изготовления потолочных карнизов могут использоваться разные материалы, но чаще всего в обустройстве интерьера применяются профили из полимеров. Такой профиль – это полая шина, в которой есть специальные линии, предназначенные для заведения крючков. Сверху такая шина для крепления штор к потолку имеет плоскую поверхность. Монтаж карниза выполняется через специальные отверстия, которые в некоторых случаях приходится проделывать самостоятельно.
Помимо самих карнизов, комплектация включает в себя следующие элементы:
- Стопоры и ограничительные заглушки;
- Повороты на 45 и 90 градусов;
- Дополнительные элементы, предназначенные для отделки наружной стороны пластикового профиля.

Важным моментом является количество крепежных рядов карниза, которое может варьироваться от одного до четырех и подбирается следующим образом:
- Потолочные карнизы с однорядным креплением используются в качестве декоративных и подходят только для установки занавесок и тюлей;
- Двухрядные профили – это стандартные изделия, которые выдерживают среднюю нагрузку и подходят для большинства ситуаций;
- Чтобы профиль мог выдерживать большую нагрузку, нужно выбирать из трехрядных изделий;
- Самые прочные пластиковые профили имеют четыре ряда креплений и подходят для эксплуатации в условиях высочайшей нагрузки.
Перед тем, как крепить пластиковый потолочный карниз, нужно подобрать оптимальный вариант, соответствующий планируемым нагрузкам.
Монтаж карнизов на стену
В первую очередь, перед установкой карниза, необходимо определиться со всеми расстояниями
Здесь очень важно выбрать расстояние до потолка. Рекомендуется разделить расстояние от потолка до окна на 3 равные части и на 1/3 расстояния закрепить карниз, при этом минимальное расстояние до окна от карниза должно составлять 5 см
Как правило, все стараются расположить карниз, как можно выше к потолку.
На каком расстоянии от потолка вешать карниз
Необходимо также определиться с тем, насколько карниз должен перекрывать окно по горизонтали, хотя зачастую это расстояние (от окна к концам карниза) заполняется полностью. Все же считается, что дистанция от боковой части окна до окончания карниза может лежать в пределах 15-40 см.
Разновидности кронштейнов
Конструкции карнизов могут быть различными, поэтому и способы крепления могут отличаться. Как правило, карнизы крепятся с помощью кронштейнов, которые могут быть:
- В виде буквы «Г». Подобные типы кронштейнов больше используются для крепления металлических (алюминиевых) карнизов. Крепятся к стене, в зависимости от конструкции стены. Выдерживают пристойные усилия, поэтому достаточно надежные.
- Разборного типа, круглой формы. Могут состоять из нескольких частей. Как правило, крепятся такие кронштейны к основанию с помощью одного крепежного элемента, что снижает надежность всей конструкции. Подобные карнизы лучше применять в том случае, если на них действует минимальная нагрузка. Для тяжелых штор они не подойдут.
- Встречаются цельные конструкции без кронштейнов. У них уже имеются все отверстия для крепежа. Как правило, подобный вид крепежа встречается у моделей из дерева.
Круглые разборные кронштейны характеризуются более высокой сложностью монтажа, так как они состоят из нескольких элементов, которые перед установкой необходимо разобрать, а затем собрать. Следует отметить, что порядок монтажа от этого не изменится.
Этапы установки
В первую очередь следует отметить места, где будут крепиться карнизы (их может быть 2 и больше). Желательно, чтобы выдерживалось расстояние до потолка, хотя потолок может располагаться не строго по горизонтали. Лучше иметь помощника, хотя мастера устанавливают карнизы и без них.
Как установить пластиковый карниз на стену: порядок монтажа в картинках
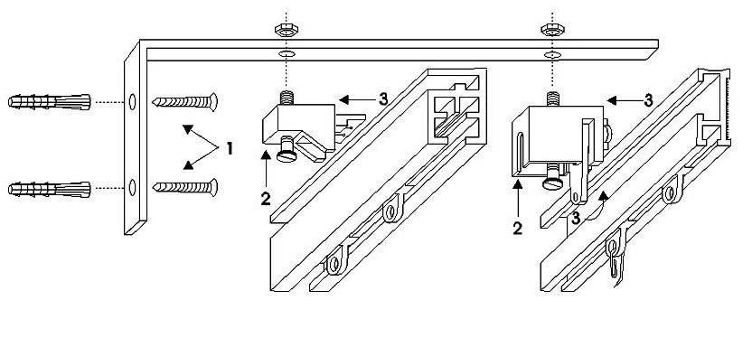
Если стены деревянные, то крепление карнизов заметно упрощается, поскольку кронштейны крепятся с помощью саморезов. Если стены из кирпича, пеноблока или, еще хуже, из бетона, то придется использовать для крепления кронштейнов дюбеля. Чтобы использовать дюбеля, придется сверлить стену, используя для этого сверла с победитовыми насадками.
Принцип сборки карнизов с круглыми держателями/кронштейнами
Перед процессом сверления необходимо отметить точки, а затем приступают к сверлению. Если стены из бетона, то лучше воспользоваться перфоратором, а если из кирпича или, тем более из пеноблока, то достаточно воспользоваться обычной или ударной дрелью. После сверления отверстий, в них вставляются (забиваются) пластмассовые дюбеля. Глубина отверстий зависит от длины дюбелей, а диаметр отверстий зависит от толщины дюбелей. Если дюбель, например, толщиной 6 мм, то и диаметр отверстия должен быть не меньше и не больше. В меньшее отверстие дюбель просто не влезет, а большее отверстие может в итоге ослабить всю конструкцию.
После установки дюбелей приступают к креплению кронштейнов, после чего можно окончательно установить карниз. Как правило, в комплекте идут и дюбеля и саморезы (шурупы, винты), а также все остальные крепежные элементы для сборки карниза. Окончательный этап – вешаются гардины, шторы или занавески.
Установка карниза для штор
Watch this video on YouTube



































