Как бороться с конденсатом
Если дом уже построен, все коммуникации подведены и подключены, сделан дорогостоящий ремонт и из вытяжки в зимний период начинает капать конденсат. Что делать в этом случае? Перестраивать дымоходы – экономически не целесообразно и дорого. Разбирать кровлю и чердак когда в доме живешь, тоже очень дорого и практически не возможно.

Далее в нашей статье опишем мероприятия, которые в свою очередь уменьшать , либо совсем избавят Ваш дом от конденсата и плесени.
И так, основные причины образования конденсата:
- Неправильно сделанная теплоизоляция, а то и ее отсутствие
- Дефекты строительных материалов использованных при монтаже вентиляции
- Постоянные затопление подвала
- Засорение конструкции вентиляционных каналов
- Неправильная установка вытяжки
Из выше перечисленных причин образования конденсата основной можно является неправильно сделанная теплоизоляция вентиляционных каналов. Конденсат возникает в точке встречи теплого и холодного воздуха намного выше места , где заканчивается теплое помещение. В печных трубах эта точка выше, но в связи с тем, что печная труба выводиться выше конька кровли то место для образования конденсата предостаточно. Для того чтобы избавиться от конденсата необходимо переместить точку росы за пределы трубы. Для этого нужно утеплить трубу на толщину 100-150мм по всей наружной поверхности вне отапливаемой части(улица чердак холодный). Это обычно достигается установкой трубы-сэндвича.

То есть в трубу большего диаметра вставляется труба меньшего диаметра, а между ними укладывается слой утеплителя. Чтобы увидеть эту конструкцию в натуре, зайдите в ближайший магазин по продаже банного оборудования. При таком устройстве конденсат маловероятен. Не обязательно покупать именно подобную трубу. Можете сделать самодельный аналог по образу и подобию. В качестве утеплителя могут пойти изовол, урса и т.п. При этом возникает нюанс с изоляцией места стыка с кровлей. Технологически выполняется следующим образом.

При устройстве гидроизоляционной плёнки на кровле необходимо завести эту плёнку на трубу и приклеить битумным или другим герметиком. Потом производиться монтаж кровли в месте примыкания к трубе в соответствии с инструкцией. Только после этого крепим металлический каркас под обшивку. Незабываем, что сначала крепим подвесы , потом укладываем утеплитель и только потом крепим направляющие для обшивки. После этого устанавливаем колпаки на трубу.
Так же уменьшить количество конденсата можно установкой принудительной вентиляции с обратным клапаном и дефлектором. При этом способе уменьшаем количество проходящего теплого воздуха из помещения который в свою очередь уменьшает количество конденсата.
Если вентиляционная труба выведена через стену, то противодействие процессу конденсации водяных паров в воздуховодах невозможно в принципе. В этом случае нам поможет только отвод конденсата из вентиляции. То есть простейший слив избытка влаги из воздуховода.

Схема отведения конденсата в вентиляционной системе
Для этого достаточно сделать следующее:
· Отыскать самую нижнюю точку воздуховода, проинспектировав приточную и вытяжную ветви. Если вентиляционные каналы выставлены строго горизонтально, то вместо нижней точки можно использовать любое место. Если каналы установлены вертикально или под наклоном, то нужной точкой будет нижний торец вентиляционного трубопровода.

Конденсат в дымоходах
Дымовые газы, поднимаясь по печной трубе постепенно охлаждаются. При охлаждении ниже точки росы на стенках дымохода начинает выпадать конденсат. Скорость охлаждения ДГ в дымоходе зависит от проходного сечения трубы (площади ее внетренней певерхности), материала трубы и ее засаженности, а так же интенсивности горения. Чем выше скорость горения, тем больше поток дымовых газов, а это означает, что при прочих равных условиях охлаждаться газы будут медленнее.
Образование конденсата в дымоходах печей или печи-камина периодического действия носит циклический характер. В начальный момент, пока труба еще не прогрета, на ее стенках выпадает конденсат, а по мере прогрева трубы конденсат испаряется. Если вода из конденсата успевает испариться полностью, то постепенно пропитывает кирпичную кладку дымохода, и на наружных стенках появляются черные смолистые отложения. Если это происходит на наружном участке дымохода (на улице или в холодном чердачном помещении), то постоянное увлажнение кладки зимой приведет к разрушению печного кирпича.
Падение температуры в дымоходе зависит от его конструкции и величины потока ДГ (интенсивности горения топлива). В кирпичных дымоходах падение Т может достигать 25*С на метр погонный. Этим обосновывается требование иметь температуру ДГ на выходе из печи («на вьюшке») 200-250*С, с той целью, чтобы на оголовке трубы она составила 100-120*С, что заведомо выше точки росы. Падение температуры в утепленных дымоходах типа сендвич составляет всего несколько градусов на метр, и температура на выходе из печи может быть снижена.
Конденсат, образуясь на стенках кирпичного дымохода впитывается в кладку (в силу пористости кирпича), а затем испаряется. В дымоходах из нержавеющей стали (сендвич) даже небольшое количество конденсата, образовавшегося в начальный период сразу начинает стекать вниз, Поэтому, для избежания затекания конденсата в утеплитель дымохода, внутренние трубы собираются таким образом, чтобы верхняя труба вставлялась в нижнюю, т.е. «по конденсату».
Зная скорость горения дров в печи и сечение дымохода можно оценить снижение температуры в дымоходе в расчете на погонный метр по формуле:
где
Коэффициент теплопоглощения стенок дымохода условно взят 1500 ккал/м2час, т.к. для последнего газохода печи в литературе приводится значение 2300 ккал/м2час. Расчет носит ориентировочный характер и призван показать общие закономерности. На рис. 5 представлен график зависимости падения температуры в дымоходах сечением 13 х 26 см (пятерик) и 13 х 13 см (четверик) в зависимости от скорости горения дров в топливнике печи.
Рис. 5.
Падение температуры в кирпичной дымовой трубе в расчете на погонный метр в зависимости от скорости горения дров в печи (потока отходящих газов). Коэффициент избытка воздуха принят равным двум.
Цифрами в начале и в конце графиков указана скорость ДГ в дымоходе, расчитанная исходя из потока ДГ, приведенного к 150*С, и сечения дымохода. Как видно, для рекомендованых ГОСТ 2127-47 скоростей поряка 2 м/с падение температуры ДГ составляет 20-25*С. Также понятно, что применение дымоходов с сечением больше необходимого может привести к сильному охлаждению ДГ и, как следствие, выпадению конденсата.
Как следует из рис. 5, уменьшение часового расхода дров приводит к уменьшению потока отходящих газов, и, как следствие, к значительному падению температуры в дымоходе. Иными словами — температура отходящих газов, например, в 150*С для кирпичной печи периодического действия, где дрова активно горят и для печи медленного горения (тлеющего) совсем не одно и то же. Как-то пришлось наблюдать такую картину, рис. 6.
Рис. 6.
Конденсат в кирпичном дымоходе от печи длительного горения.
Здесь печь тлеющего горения была подключена к кирпичной трубе сечением в кирпич. Скорость горения в такой печи очень мала — одна закладка может гореть 5-6 часов, т.е. скорость горения составит порядка 2 кг/час. Само-собой, газы в трубе охладились ниже точки росы и в дымоходе начал образовываться конденсат, который пропитал трубу насквозь, и при топке печи каплями стекал на пол. Таким образом, печи длительного горения можно подключать только к утепленным дымоходам типа «сендвич».
14.02.2013
Насколько оправдана цена котла?
Качественный котел никогда не стоит дешево.
К изготовлению котлов СТАРТ допускаются только очень высококвалифированные сварщики и слесари. Многие сварщики работают уже более 15 лет и ценят свою работу. Каждый сварочный шов очень качественный и тщательно проверяется.
Швы топочной камеры камеры всегда провариваются с двух сторон
для максимальной надежности, а для сварки внешних швов используется сварочный робот KUKA, который обеспечивает идеальный ровный шов за счет того, что он по своей сути РОБОТ и за счеткапельного режима сварочной дуги с глубокой проваркой шва.
Мы не применяем ни одного дешевого комплектующего
, редуктор — лучший немецкий, двигатель — качественный испанский, вентилятор — ведущий производитель из Польши, металл — толщиной 6мм ММК (Россия), чугунное литье — очень высококачественное российское (не отличить от финского литья), даже уплотнительные шнуры применяются не дешевые стекловолоконные, а очень качественные высокотемпературные мулиткремнеземные.
Устранение конденсата
Как устранить конденсат в дымоходе газового котла? Существует несколько способов, как избавиться от влаги в отопительной системе, рассмотрим каждый из вариантов более детально.
Утепление канала дымохода
Течет дымоходная труба в основном зимой, что делать в этом случае? Зачастую такое явление возникает по причине неправильного утепления устройства при возведении. Если течет конденсат из дымохода, то вам потребуется утеплить приспособление. В качестве термоизоляции можно применить волокнистый утеплитель, штукатурку, минеральную вату или плиты из пенополистирола. Волокно и минеральная вата в этом случае выбираются для отделки асбестовых или труб из металла. Чтобы убрать конденсат из вытяжной трубы из кирпича лучше применять оштукатуривание.
Избавиться от конденсата в печной трубе при помощи минеральной ваты или волокна можно в следующем порядке:
- Первым этапом является разрезание отделочного материала на несколько частей. Это необходимо для того, чтобы удобно обернуть трубу.
- Выполненные отрезки надежно крепят на дымоотводе. Для этих целей вам потребуются хомуты или проволока из металла.
- Далее обеспечивается внешняя защита при помощи фольги или металлического короба.
Как избавиться от конденсата в печной трубе при помощи оштукатуривания? Для этого вам потребуется выполнить следующие действия:
- оснастить стенку дымоотвода сеткой для штукатурки при помощи определенных болтов с увеличенной головкой;
- далее накладывается первый шар штукатурки из следующих ингредиентов: вода, известь, шлак мелкого размера и цемент;
- первый слой накладывается толщиной примерно в 30 сантиметров;
- далее выполняется еще 4-5 слоев;
- после полного высыхания отделки нужно нанести сверху декоративную краску.
Предварительная просушка горючего
Конденсат в дымоходе, что нужно делать? Прежде чем ответить на этот вопрос необходимо понимать, что любое горючее необходимо хорошо просушивать перед применением, чтобы избавиться от влаги. Для этого их кладут сначала под навес в хорошо проветриваемом помещении. Наиболее оптимальный в этом случае срок сушки составляет 1-2 года. Также следует учитывать, что мелкие дрова сохнут значительно быстрее.
Далее непосредственно перед использованием горючее должно полежать около пяти-семи дней в теплом сухом месте.
Это что касается дров, как хранить другие виды горючего? Брикеты и пеллеты необходимо хранить в теплом сухом помещении и следить за тем, чтобы избавиться от лишней жидкости. Торф и уголь нужно перед использованием оставить на несколько часов в помещении, для того чтобы просохла скопившаяся в них влага.
Правильный выбор топлива
Одной из причин, почему дымоход «плачет» является неправильный выбор топлива. Поэтому выбирать горючее специалисты рекомендуют из соображений доступности, стоимости и потребности автоматизации отопительной системы.
Прочистка дымохода
Течет дымоходная труба, что делать? Первое, на что следует обратить внимание это тот факт, что плакать дымоотвод может по причине сильного загрязнения. Чтобы избавиться от него вам потребуется хорошо его прочистить. Избавиться от конденсата в дымоходе можно следующими способами:
Избавиться от конденсата в дымоходе можно следующими способами:
- применить специальные химические средства, суть работы которых заключается в сжигании и разложении сажи и осадков;
- прочистить дымоотвод механическим путем;
- использовать ручную прочистку при помощи веревки конкретной длины и утяжелителя;
- в печной трубе можно устранить конденсат при помощи народных рецептов.
Последний вариант предполагает медленное заглубление каната в направлении сверху вниз в устройство. В народных рецептах применяют картофель и соль, их засыпают в камеру при горении топлива.
Какой бы способ для устранения конденсата в дымоходе газового котла не выбрали, важно соблюдать все правила безопасности, в противном случае можно только усугубить сложившуюся ситуацию и нанести непоправимый вред своему здоровью
Использование конденсатоотводчика
Если жидкость стекает по стенкам дымоотвода, то в таких случаях применяют конденсатоотводчик для дымохода. Это совершенно безопасное и необходимое мероприятие в современных системах отопления, которое поможет избавиться от лишней жидкости. Специальный конденсатосборник с отводом жидкости устанавливается в устройство, чем предотвращает скопление в нем жидкости на стенках.
Данное приспособление представляет собой специальную емкость, выполненную из нержавеющей стали, которая фиксируется в нижней части выводного канала. Изредка такие приспособления обеспечивают регулярный отток жидкости из отопления в канализацию. В их комплект входят уже готовые секции для установки.
Почему образуется конденсат в дымовых трубах?
Рассмотрим ряд причин, влияющих или способствующих его возникновению.
Степень влажности топлива. Необходимо учитывать тот момент, что абсолютно сухого топлива не бывает. Какое-то количество водяных паров есть даже в природном газе, который в процессе горения разлагается на углекислоту и водяной пар.
Температура дыма и самой трубы. При ее отметке ниже 100 °C, наличие воздуха в дымоходе будет создавать водяной пар. В начале работы это получается за счет генерации отопительным прибором выхлопных газов с небольшой температурой и их проходу по плохо разогретому дымовому каналу. Такая ситуация м.б. также и при регулярной эксплуатация агрегата в щадящем режиме (при установке небольшой температуры на выходе).
Слабая тяга. Если газы движутся по трубе с невысокой скоростью, то повышается возможность их перехода в воду. При хорошей же тяге (и скорости) пары улетают из трубы, не успевая преобразоваться в жидкость.
Большая разница температуры дымового канале и внешней среды. В этой ситуации конденсат образуется снаружи трубы и даже на торцевой ее части. При чем это происходит при каждом сезонном похолодании.
Попадание осадков в дымоход (например, при отсутствии колпака, дефлектора или иных защитных, вспомогательных приспособлений).
Ошибки в проектирования и монтаже.Это нередко случается, если проект и монтаж канала осуществлен неспециалистом.
Нерегулярная чистка дымохода, что приводит к его сильному засорению
О важности поддержания трубы в чистоте и как это делать читайте в статье.
Повреждения дымохода также ведут к образованию конденсата.
Причины образования влаги в дымоходе
Любое топливо для котла, печи или камина при сгорании выделяет водяной пар, который в трубе дымохода остывает и образует на стенках осадок в виде капель. Происходит это из-за перепада температур на выходе из отопительного агрегата и в отдельных частях дымохода.
Дополнительно влага может попадать в дымовой канал снаружи во время дождя. Химическая реакция воды с сажей и смолами приводит к образованию кислот и щелочей.
По гладким стенкам конденсат стекает вниз, где скапливается, препятствуя отведению дыма и ухудшая тягу. Шероховатые поверхности задерживают и впитывают влагу, подвергаясь коррозии и преждевременному разрушению.

Кроме того, скопившиеся в дымоходе вещества могут проникать в помещение, вызывая неприятный запах и нанося вред здоровью.
Устранение конденсата
Как устранить конденсат в дымоходе газового котла? Существует несколько способов, как избавиться от влаги в отопительной системе, рассмотрим каждый из вариантов более детально.
Утепление канала дымохода
Течет дымоходная труба в основном зимой, что делать в этом случае? Зачастую такое явление возникает по причине неправильного утепления устройства при возведении. Если течет конденсат из дымохода, то вам потребуется утеплить приспособление. В качестве термоизоляции можно применить волокнистый утеплитель, штукатурку, минеральную вату или плиты из пенополистирола. Волокно и минеральная вата в этом случае выбираются для отделки асбестовых или труб из металла. Чтобы убрать конденсат из вытяжной трубы из кирпича лучше применять оштукатуривание.
Избавиться от конденсата в печной трубе при помощи минеральной ваты или волокна можно в следующем порядке:
- Первым этапом является разрезание отделочного материала на несколько частей. Это необходимо для того, чтобы удобно обернуть трубу.
- Выполненные отрезки надежно крепят на дымоотводе. Для этих целей вам потребуются хомуты или проволока из металла.
- Далее обеспечивается внешняя защита при помощи фольги или металлического короба.
Как избавиться от конденсата в печной трубе при помощи оштукатуривания? Для этого вам потребуется выполнить следующие действия:
- оснастить стенку дымоотвода сеткой для штукатурки при помощи определенных болтов с увеличенной головкой;
- далее накладывается первый шар штукатурки из следующих ингредиентов: вода, известь, шлак мелкого размера и цемент;
- первый слой накладывается толщиной примерно в 30 сантиметров;
- далее выполняется еще 4-5 слоев;
- после полного высыхания отделки нужно нанести сверху декоративную краску.

Предварительная просушка горючего
Конденсат в дымоходе, что нужно делать? Прежде чем ответить на этот вопрос необходимо понимать, что любое горючее необходимо хорошо просушивать перед применением, чтобы избавиться от влаги. Для этого их кладут сначала под навес в хорошо проветриваемом помещении. Наиболее оптимальный в этом случае срок сушки составляет 1-2 года. Также следует учитывать, что мелкие дрова сохнут значительно быстрее.
Далее непосредственно перед использованием горючее должно полежать около пяти-семи дней в теплом сухом месте.
Это что касается дров, как хранить другие виды горючего? Брикеты и пеллеты необходимо хранить в теплом сухом помещении и следить за тем, чтобы избавиться от лишней жидкости. Торф и уголь нужно перед использованием оставить на несколько часов в помещении, для того чтобы просохла скопившаяся в них влага.
Правильный выбор топлива
Одной из причин, почему дымоход «плачет» является неправильный выбор топлива. Поэтому выбирать горючее специалисты рекомендуют из соображений доступности, стоимости и потребности автоматизации отопительной системы.
Прочистка дымохода
Течет дымоходная труба, что делать? Первое, на что следует обратить внимание это тот факт, что плакать дымоотвод может по причине сильного загрязнения. Чтобы избавиться от него вам потребуется хорошо его прочистить
Избавиться от конденсата в дымоходе можно следующими способами:
- применить специальные химические средства, суть работы которых заключается в сжигании и разложении сажи и осадков;
- прочистить дымоотвод механическим путем;
- использовать ручную прочистку при помощи веревки конкретной длины и утяжелителя;
- в печной трубе можно устранить конденсат при помощи народных рецептов.
Последний вариант предполагает медленное заглубление каната в направлении сверху вниз в устройство. В народных рецептах применяют картофель и соль, их засыпают в камеру при горении топлива.
Какой бы способ для устранения конденсата в дымоходе газового котла не выбрали, важно соблюдать все правила безопасности, в противном случае можно только усугубить сложившуюся ситуацию и нанести непоправимый вред своему здоровью
Использование конденсатоотводчика
Если жидкость стекает по стенкам дымоотвода, то в таких случаях применяют конденсатоотводчик для дымохода. Это совершенно безопасное и необходимое мероприятие в современных системах отопления, которое поможет избавиться от лишней жидкости. Специальный конденсатосборник с отводом жидкости устанавливается в устройство, чем предотвращает скопление в нем жидкости на стенках.
Данное приспособление представляет собой специальную емкость, выполненную из нержавеющей стали, которая фиксируется в нижней части выводного канала. Изредка такие приспособления обеспечивают регулярный отток жидкости из отопления в канализацию. В их комплект входят уже готовые секции для установки.
Как избавиться от конденсата в дымоходе?
Думать над тем, как не допустить появления конденсата, нужно еще на этапе проектирования и строительства. Начнем с того, что нужно использовать материалы с высокой устойчивостью к химическим воздействиям: нержавейку и полимер.
Если конденсат все-таки появляется в больших количествах, пытаться демонтировать старый дымоотвод и ставить новый будет очень дорого и сложно, и займет много времени.
В таком случае можно решить проблему двумя способами:
- Временно поставить кондесатосборник или конденсатоотвод. Принцип работы обоих устройств примерно одинаков: в первом случае жидкость отводится в специальную емкость, во втором случае – сразу в канализацию. В этом случае конденсат все-таки будет возникать, но не будет задерживаться в канале.
- Поставить гильзу в дымоход. Если вкратце, то это установка внутрь основного канала еще одной трубы, по которой будет подниматься дым (получается по сути труба в трубе). При необходимости демонтировать гильзу будет намного проще, чем дымоход.
Как не допустить появления?
Полностью предотвратить появление конденсата невозможно, однако можно существенно уменьшить его количество. Кроме того, можно не только избавиться от большей части лишней влаги, но и усилить устойчивость трубы к ее негативному воздействию.
Наледь на не утепленном дымоходе
Бороться с конденсатом и его негативным воздействием можно следующими способами:
- Применение только качественных сухих топливных материалов. Отлично подойдут подсушенные дрова, солярка, уголь (каменный), пеллеты. Полностью устранить жидкость в топливе нельзя, но можно свести ее количество к минимуму.
- Обязательно нужно время от времени чистить дымоходный канал. Основная цель – своевременно устранять любые образовавшиеся наслоения. Если они начинают появляться, то процесс загрязнения ускоряется, поскольку на гладкую чистую поверхность сажа нарастает намного медленнее.
- Можно смонтировать на торце дымоотводной трубы дефлектор – насадку, которая увеличивает тягу. Кроме того, она еще и защищает торец от негативного воздействия атмосферной влаги, которая попадает на трубу во время дождей или метели.
- Можно провести гильзовку – то есть закрепить в основном канале отдельную жаростойкую и устойчивую к действию конденсата трубу. Внешний вид здания испорчен не будет – гильзовка располагается внутри канала, поэтому со стороны ее не видно. Самый удачный вариант: использовать гильзы из нержавейки или полимера. Именно эти материалы устойчивы к влаге, и имеют гладкие ровные стенки, которые медленнее загрязняются и легче чистятся. Единственный минус: применение вставки уменьшает диаметр канала, из-за чего может ухудшиться тяга.
- Можно также утеплить дымоотводную трубу со смещением точки росы в основу (тело) канала. С помощью такого метода можно убрать проблему с разницей в температуре, из-за чего будет конденсироваться меньше влаги.
Как отводить конденсат?
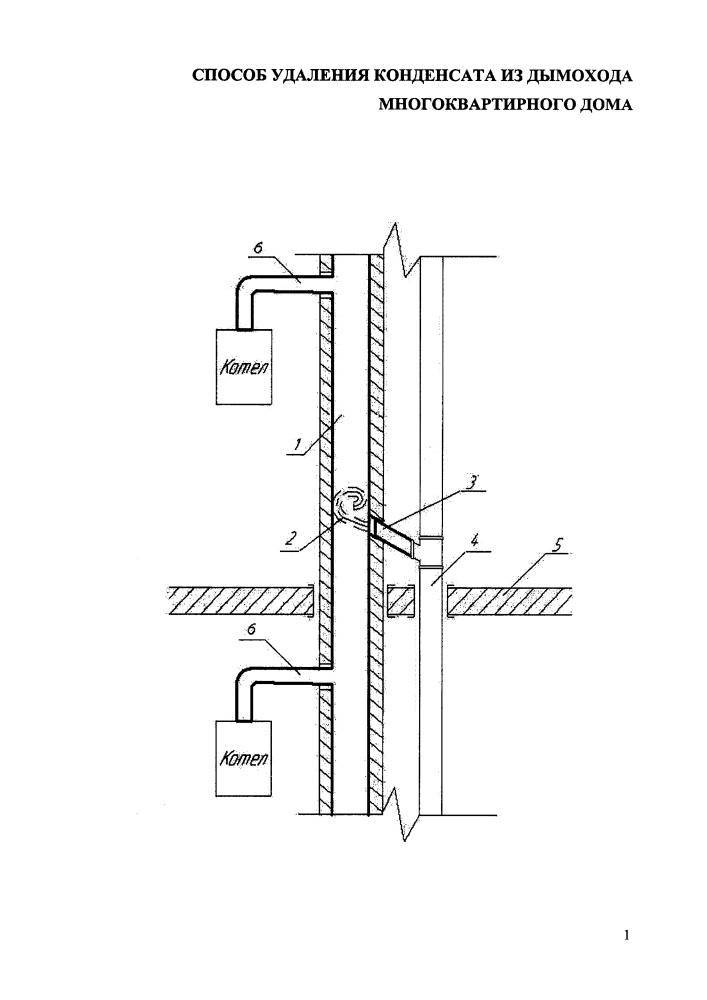
Хороший способ защитить дымоотводные трубы от воздействия конденсата – отводить его. Для этого в точке пересечения горизонтального дымоотводного канала (от топки) и вертикального канала (тот, что к улице) монтируется конденсатоотводчик/кондесатосборник.
Принцип работы устройства прост – образовавшийся конденсат отводится в стальной стакан, который устанавливается ниже узла сопряжения. Также можно сделать отвод в канализацию или на улицу, но в любом случае место отвода должно быть ниже узла сопряжения.
Данный метод хорош тем, что он убирает последствия образования конденсата, никоим образом не влияя на процесс его образования (то есть меньше мороки с поиском способа решения проблемы).
Жми «Нравится» и получай только лучшие посты в Facebook ↓
В процессе работы отопительной системы появление влаги в дымоходе наносит вред не только самому дымоходу, но и отопительному прибору. Вступая в реакцию с продуктами горения, влага превращается в химически агрессивные вещества, нарушающие работу отопительной системы.
Избавиться от конденсата полностью нельзя, но можно минимизировать его количество и предотвратить нежелательные последствия.
Установка дымохода своими руками через стену
Рассмотрим вариант установки дымохода с выходом через стену и монтажом по внешней стене здания. Такая конструкция позволяет не вырезать отверстие под трубу в крыше – часто это основополагающий фактор. Вырезать отверстие в крыше — довольно сложная задача. На самом деле, основным фактором, влияющим на вывод трубы в стену, является боковой вывод дымохода купленной печи. Плюсом такого расположения дымохода является удобный процесс избавления от конденсата.

Сначала проводим измерения высоты отверстия. Покупаем стеновой переход и в соответствии с разметкой вырезаем стену. Вставляем стеновой переход, пустоты плотно заполняем негорючим теплоизоляционным материалом, аккуратно и скрупулезно заделываем все щели. Помните — первым коленом от печи должно быть колено без теплоизоляции. Выходящий дым из металлических печей, особенно в момент разгорания имеет высокую температуру. Поэтому теплоизоляция может прогореть. Длина отрезка без теплоизоляции составляет пятьдесят сантиметров и более. При наличии возможности и соответствующих габаритах комнаты, увеличьте до одного метра — увеличится площадь с высокой температурой, дополнительно обогревающей комнату. После трубы без теплоизоляции устанавливается сэндвич труба. Расстояние от внешней стены до сэндвич трубы должно быть не менее полуметра.

После выхода из стены на трубу надевают тройник. На верх тройника одевается оставшийся дымоход. Высота дымохода для обеспечения хорошей тяги должна быть порядка пяти-шести метров. Трубы дымохода специальными кронштейнами крепятся к стене. Стандартные сэндвич трубы имеют длины в двадцать пять, пятьдесят и сто сантиметров.

Максимальное расстояние между крепежными кронштейнами двести двадцать сантиметров. Помните, каждое колено трубы должно быть закреплено хотя бы одним хомутом. На верхнюю трубу одеваем «зонтик», чтобы в трубу не попадали осадки и не задувал ветер.
На тройник снизу одевается конденсатосборник – емкость для сбора конденсата и дегтя. Они неизбежно образуются при топке. Учтите — вес трубы высотой пять и более метров может достичь пятидесяти килограмм и кронштейны такую массу не выдержат. Дымоход может «поехать» вниз. Во избежание такой ситуации под тройник подгоняют подставку, сваренную из уголка. Подставку можно прикрепить к стене. Если выход из стены не высоко от земли, подставку можно установить на земле. Не делайте ее узкой – неудобно снимать емкость с конденсатом.

Профилактика образования конденсата
Чтобы избежать проблем, связанных с работой дымоотводной системы, следует знать о том, как избежать конденсата в дымоходе. Существует несколько профилактических мер, которые продлят срок службы системы и сделают ее эксплуатацию не только максимально эффективной, но и безопасной. Среди них:
- на стадии проектирования системы должны быть соблюдены все правила и нормы, связанные с устройством дымохода и регламентированные специальной документацией;
- установка системы должна производиться без отступлений от проекта, который был составлен специалистом;
- внесение изменений в конфигурацию системы возможно только после согласования с экспертом;
- в установленном дымоходе нужно обеспечить усиление тяги: установить дымососы, дефлекторы, турбины и т.д.;
- трубы необходимо регулярно прочищать;
- пользоваться лучше только сухими видами топлива.
Кроме того, отопительную систему следует подвергать плановому осмотру перед каждым отопительным сезоном. Это позволит вовремя выявить и устранить неисправности.
Как собирать дымоход – по дыму или по конденсату? Будет ли конденсат в моей печи?
Современные утепленные дымоходы всегда собираются по конденсату и никак иначе. Дело в том что конденсат в дымоходной трубе, это вовсе не дистиллированная вода, а сложный химический раствор, зачастую кислотный. Такая жидкость повреждает теплоизоляцию дымохода, поэтому внутренний контур собирается по конденсату, чтобы жидкость всегда оставалась внутри трубы.
Одноконтурные (стартовые) части дымохода многие по привычке собирают по дыму. Для некоторых теплогенераторов (котлы всех видов, печи длительного горения) такая сборка неприемлима в принципе, так как их режимы горения предполагают обильное выделение конденсата на стенках дымохода. Такие типы теплогенераторов нужно подключать к дымоходу только по конденсату и только через тройник с конденсатосборником.
На выходе из банной печи, как правило, температуры значительно выше “точки росы” при которой идет выделение конденсата, поэтому на первых трубах в банях конденсат оседает меньше. Но на переходных режимах (розжиг, остывание) он тоже выделяется и этого небольшого количества достаточно чтобы просочиться наружу и испортить внешний вид первой трубы.



































